10.1 베어링 설치
구름베어링의 설치 방법은 베어링의 종류나 크기에 따라 다릅니다.
잘못된 방법으로 설치되면, 베어링 손상 및 장치의 수명 저하를 일으킬 가능성이 높아집니다.
설치 과정
베어링의 설치 상태는 정도, 수명, 성능에 영향을 미칩니다. 그러므로 설계 및 조립 부문이 협력하여, 베어링의 설치에 대해 충분히 검토하고, 정해진 작업 표준에 따라 설치 작업을 진행합니다.
통상적인 설치 작업 표준
1. 베어링 및 관계 부품의 세정
2. 관계 부품의 치수 및 완성도의 확인
3. 설치
4. 베어링 설치 후 확인
5. 윤활제 공급
6. 운전 검사
베어링의 포장은 설치 직전에 해체하도록 합니다.
베어링 및 관계 부품의 세정
그리스 윤활의 경우, 일반적으로 베어링을 세정하지 않고 그대로 윤활 그리스를 주입합니다.
그리스 봉입 베어링도 세정하지 않고 사용합니다.
오일 윤활의 경우에도 일반적으로 세정할 필요는 없습니다. 다만 계기용 또는 고속 용도인 경우에는 깨끗한 세정유로 세정하여 베어링에 도포된 방청유를 제거해 주십시오.
방청유를 제거한 베어링은 녹이 발생하기 쉬우므로 그대로 방치하지 않도록 주의합니다.
설치 방법
베어링 설치 방법은 베어링 형식이나 끼워맞춤 조건에 따라 다르며, 일반적으로는 다음의 방법을 사용합니다.
 
        
    
    
    
설치 시 주의사항
직접 불로 가열하지 않는다.
 
        
    
    
    
직접 타격하지 않는다.
 
        
    
    
    
미스얼라인먼트 상태의 조립
하우징 내경면이 거울어지지 않았는지 확인한다.
 
        
    
    
    
내륜을 기울어진 상태로 삽입하지 않는다.
 
        
    
    
    
설치 시(압입 시)의 주의 사항
 
        
    
    
    
열간 압입
 
        
    
    
    
플레이트에 직접 닿지 않게 할 것
1. 핫플레이트
 
        
    
    
    
유조의 바닥에 직접 닿지 않게 할 것
2. 유조
 
        
    
    
    
3. 베어링 히터
 
        
    
    
    
 
        
    
    
    
방열 시의 수축에 의해 베어링과 축의 단부에 틈새가 생기지 않도록 5〜10초간, 베어링의 압입력을 유지합니다. (화상에 주의)
밀봉 베어링을 가열하는 경우, 고온 상태를 장시간 유지하지 않도록 합니다. 그리스는 고온 상태에서 급속도로 열화됩니다.
유조 가열
 
        
    
    
    
- 대형 베어링에서는 압입에 필요한 힘이 크기 때문에 압입 작업이 어려워집니다. 따라서, 오일 속에서 베어링을 가열하여 팽창시킨 후 축에 설치하는 열간 압입 방법이 널리 사용되고 있습니다.
- 이 방법을 사용하면 베어링에 무리한 힘이 가해지지 않으며, 짧은 시간 안에 작업을 완료할 수 있습니다.
- 열간 압입 작업에서의 주의 사항은 다음과 같습니다.
- 베어링을 120℃ 이상에서 장시간 가열하지 않는다.
- 베어링이 국부적으로 가열되는 것을 방지하기 위해, 유조 바닥에 직접 닿지 않도록, 베어링을 금속망 위에 올리거나 후크로 걸어 두는 등의 방법이 바람직하다.
- 작업 중 내륜이 식어서 설치가 어려워질 수 있으므로, 베어링을 필요 온도보다 약간 더 고온으로 가열한다.
- 설치 후 베어링이 식으면 폭 방향으로도 수축하므로, 내륜과 축의 단부에 틈새가 생기지 않도록 축 너트나 기타 적절한 방법으로 밀착시킨다.
유도 가열 장치 (인덕션 히터)
오일을 이용한 열간 압입 방법 외에도, 전자기 유도 작용을 이용한 베어링 히터가 널리 사용되고 있습니다.
- 베어링 히터는 자극 코일을 내장하고 있으며, 전류가 흐르면 전자기 유도 작용에 의해 가열 대상(베어링)에 전류가 흐르고, 그 자체 저항에 의해 열이 발생합니다.
- 따라서 불이나 오일을 사용하지 않고 짧은 시간 안에 균일하게 가열할 수 있어, 베어링의 열간 압입 작업을 효율적이고 깨끗하게 수행할 수 있습니다
- 설치 및 분리가 비교적 자주 이루어지는 경우, 예를 들어, 압연기의 롤넥용, 철도 차량의 차축용 등의 롤러 베어링은, 내륜의 설치 및 분리에 전용 인덕션 히터를 이용하면 더욱 효율적입니다.
 
        
    
    
    
베어링 히터
 
        
    
    
    
인덕션 히터
깊은홈볼베어링의 열간 압입 온도
 
        
    
    
    
(※) 상기 온도는 표준 베어링의 경우의 개략치이며, 가능하면 최고 사용 온도 이하에서 가열하는 것이 바람직합니다.
냉각 압입
대형 · 초대형 베어링의 외륜을 압입하는 경우, 드라이 아이스 등으로 외륜을 수축시켜서 냉각 압입하는 방법이 있습니다.
 
        
    
    
    
 
        
    
    
    
베어링 설치의 치공구 예
 
        
    
    
    
 
        
    
    
    
 
        
    
    
    
 
        
    
    
    
 
        
    
    
    
 
        
    
    
    
베어링 설치 시의 측정기 예
 
        
    
    
    
 
        
    
    
    
 
        
    
    
    
 
        
    
    
    
 
        
    
    
    
 
        
    
    
    
 
        
    
    
    
 
        
    
    
    
베어링의 설치
테이퍼 보어 베어링 설치
1. 테이퍼 보어 베어링
테이퍼 홀 베어링을 사용하면 내부 링이 테이퍼 샤프트에 직접 고정되거나 어댑터 또는 탈착식 슬리브를 사용하여 원통형 샤프트에 장착됩니다.
 
        
    
    
    
어댑터에 의한 설치
 
        
    
    
    
해체 슬리브에 의한 설치
2. 대형 자동조심 롤러베어링
대형 자동조심 롤러베어링은 유압을 이용한 설치 작업을 실시하는 경우가 많습니다. 유압 너트를 이용하여 슬리브를 압입하는 방법이나, 슬리브에 설치된 오일홀을 통해 끼워맞춤면에 유압을 가하면서 볼트로 슬리브를 압입하는 방법이 있습니다.
 
        
    
    
    
유압 너트를 사용한 설치
 
        
    
    
    
특수 슬리브를 사용한 유압식 설치
설치 후의 유의점
「같은 조립 방법으로 설치했는데, 다른 제조사의 제품을 사용했더니 단시간에 손상되었다」라는 의견을 접수하는 경우가 많습니다.
표준 베어링은 ISO / JIS 등의 규격에 의해 내경(d), 외경(D), 너비(B) 등이 규정됩니다. 하지만 그 외의 요소들(전동체 크기, 전동체 수 등)은 각 제조사에 따라 다를 수 있습니다. 특히, 내경 테이퍼 보어 또는 테이퍼 축의 경우, 조립 방법이 같아도, 잔류 클리어런스(조립 후의 클리어런스), 또는 예압량이 달라질 수 있습니다. 제조사를 변경할 경우, 조립 후 토크 또는 클리어런스를 확인하는 것이 권장됩니다.
 
        
    
    
    
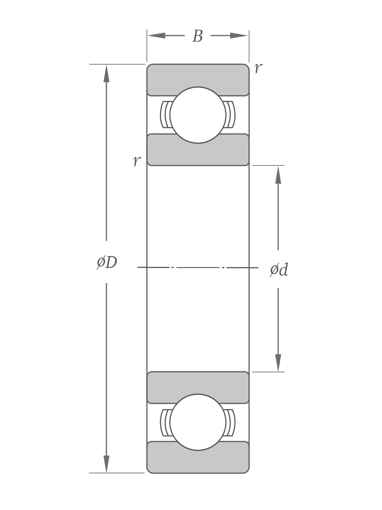
깊은홈볼베어링
(앵귤러볼베어링)
 
        
    
    
    
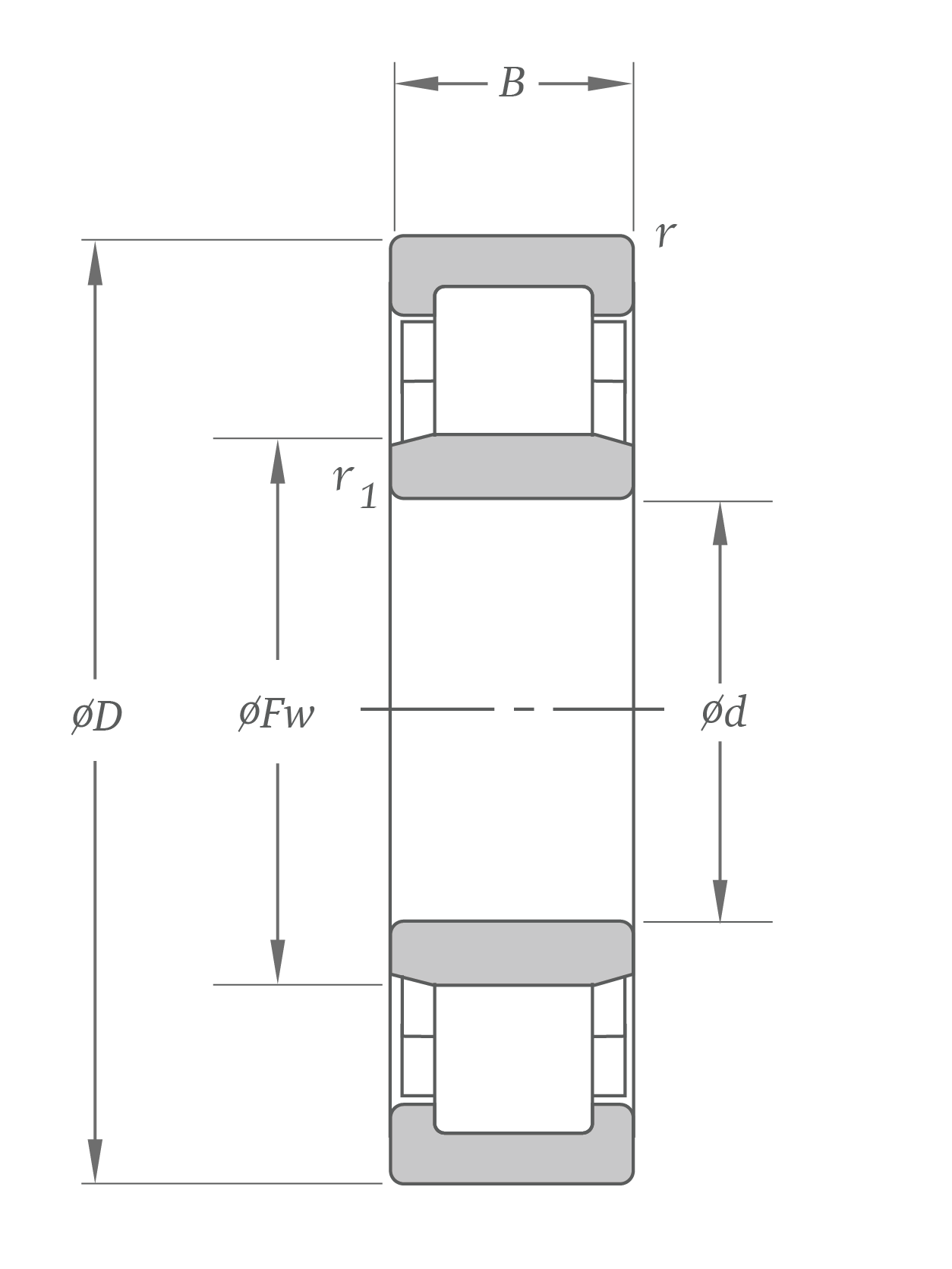
원통롤러베어링
 
        
    
    
    
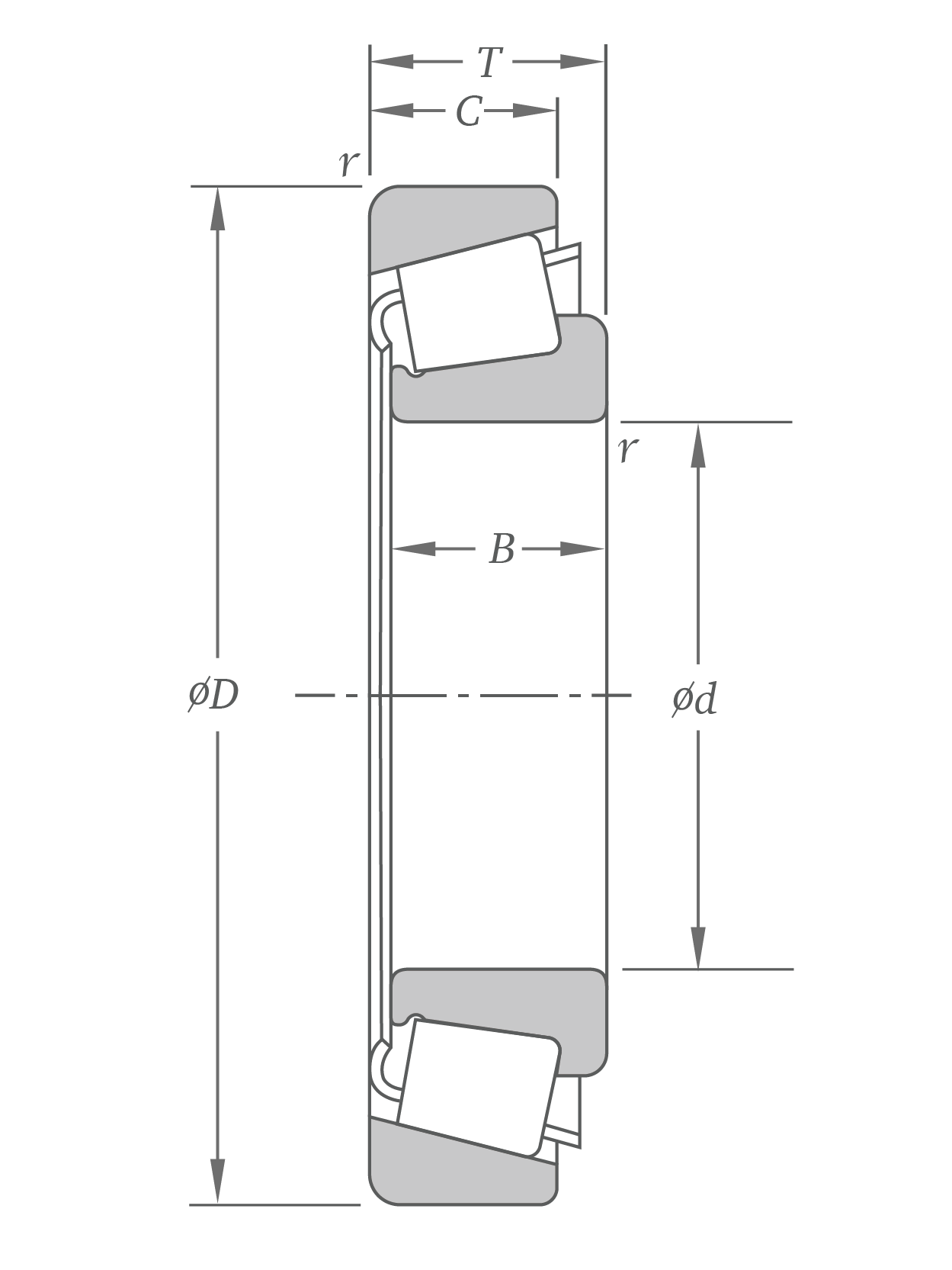
테이퍼롤러베어링
 
        
    
    
    
(원통 보어)
자동조심 롤러베어링
 
        
    
    
    
테이퍼 보어
자동조심 롤러베어링
운전 검사
베어링의 설치가 끝나면 설치가 정상적으로 이루어졌는지를 확인하기 위해, 운전 검사를 실시합니다.
운전 검사에서 이상이 발견되는 경우, 즉시 운전을 중지하고 기계를 점검할 필요가 있습니다.
| 기계 구분 | 운전방법 | 검사항목 | 
|---|---|---|
| 소형 기계 | ・수동운전 검사 결과에 이상이 없으면 동력 운전을 실시한다. | ・걸림 (이물, 상처, 압흔) ・회전 토크 편차 (설치 불량) ・토크 과대 (클리어런스 과소 · 설치 오차) | 
| ・동력운전 무부하, 저속에서 시작하여, 점차적으로 운전 조건을 올려, 정격 운전으로 전환한다. | ・이상 소음의 확인 ・베어링 온도의 추이 ・윤활제의 누출 및 변색 | |
| 대형 기계 | ・관성 운전 무부하에서 동력 운전을 시작한 직후 동력을 차단하고 관성 운전을 실시한다. 검사 결과에 이상이 없으면 동력 운전을 실시한다. | ・진동, 소음 등 | 
| ・파워 오퍼레이션 소형 기계의 방법을 따른다. | 소형기계와 동일 | 
보수 및 점검
베어링 본래의 성능을 양호한 상태에서 가능한 한 길게 유지하기 위해 실시합니다.
- 고장 예방
- 운전 신뢰성 향상
- 생산성 향상
- 경제성 향상
보수 · 점검은 기계의 운전 조건에 맞춘 작업 표준에 따라, 정기적으로 수행하는 것이 바람직하며, 운전 상태의 모니터링, 윤활제의 보급 또는 교체, 정기 분해 검사 등을 포함합니다.
- 운전 중의 베어링 이상의 징후를 예지하는 것은 조업 상 아주 중요합니다.
